Напішыце нам

sdepochwater@hotmail.com

Навіны

Характарыстыка і класіфікацыя засаўкі


Засаўка, таксама вядомая як засаўка, - гэта засланка, часткай адкрыцця і закрыцця якой з'яўляецца засаўка, якая прыводзіцца ў рух штокам клапана для перамяшчэння засаўкі ўверх і ўніз.


Характарыстыкі засаўкі


1) Перавагі засаўкі: нізкі супраціў патоку вадкасці; Крутоўны момант, неабходны для адкрыцця і закрыцця, невялікі. Напрамак патоку асяроддзя не абмежаваны. Пры адкрыцці і закрыцці няма гідраўдару. Структура формы адносна простая, а вытворчы працэс лепшы.


2) Недахопы засаўкі: яны маюць адносна вялікія знешнія памеры і мантажную вышыню і патрабуюць значнай прасторы для ўстаноўкі. У працэсе адкрыцця і закрыцця адбываецца адноснае трэнне на ўшчыльняльнай паверхні, што прыводзіць да значнага зносу. Нават пры высокіх тэмпературах ён схільны да драпін. Засаўкі звычайна маюць дзве ўшчыльняючымі паверхні, што дадае пэўных цяжкасцяў пры апрацоўцы, шліфоўцы і абслугоўванні.


Засаўкі маюць шырокі спектр прымянення. Звычайна выкарыстоўваецца для трубаправодаў водазабеспячэння з намінальным дыяметрам DN50 і больш.



Класіфікацыя засаўкі


Засаўкі можна класіфікаваць па спосабах злучэння на разьбовыя засаўкі, фланцавыя засаўкі і зварныя засаўкі. Па канструктыўных асаблівасцях іх можна падзяліць на паралельныя засаўкі і клінаватыя засаўкі. У залежнасці ад структуры стрыжня клапана іх можна падзяліць на асобныя засаўкі са стрыжнем (пад'ёмным стрыжнем) і засаўкі са схаваным стрыжнем (паваротным стрыжнем).




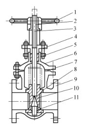
1) Паралельны падвойны засаўка з адкрытым штокам: паралельны падвойны засаўка з адкрытым штокам паказаны на малюнку 1. Яго засаўка складаецца з двух сіметрычных і паралельных дыскаў. Калі засаўка апускаецца, верхні клін, размешчаны ўнізе засаўкі, прымушае дзве засаўкі пашырацца вонкі і шчыльна прыціскацца да сядла клапана, такім чынам, шчыльна зачыняючы клапан. Калі засаўка падымаецца, клін адлучаецца ад дыска. Як толькі дыск падымаецца на пэўную вышыню, клін падымаецца за выступы на дыску і падымаецца разам з засаўкай. Гэты клапан мае простую канструкцыю. Апрацоўка, шліфоўка і абслугоўванне яго ўшчыльняльнай паверхні прасцей, чым у клінавай засаўкі. Аднак яго герметызацыя адносна нізкая. Ён падыходзіць для асяроддзяў з ціскам не больш за 1,0 МПа і тэмпературай не больш за 200 ℃.



Малюнак 1: Падвойны засаўка з паралельным уздымам штока


1. Махоўнік 2- гайка штока клапана 3- шток клапана 4 - сальнік 5 - сальнік 6 - вечка клапана

7 - Пракладка 8 - Ушчыльняльнае кольца 9 - Корпус клапана 10 - Засаўка 11 - Верхні клін


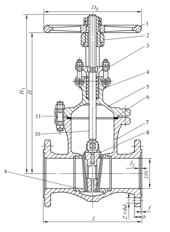
2) Засаўка са схаваным клінам штока: Як паказана на малюнку 2, ушчыльняльная паверхня гэтага клапана нахіленая і ўтварае кут. Чым вышэй тэмпература асяроддзя, тым больш кут. Клінаватыя засаўкі класіфікуюцца на адзінарныя засаўкі, падвойныя засаўкі і пругкія засаўкі, як паказана на малюнках 2a, b і c адпаведна. Апрацоўка, шліфоўка і абслугоўванне клінавых засаўных пласцін больш складаныя, чым паралельных засаўных пласцін, але яны маюць лепшую герметычнасць.


Малюнак 2 Засаўка са схаваным клінам штока


a) Клінава пласціна з адным засаўкам b) Клінава пласціна з падвойным засаўкам c) Клінава пругкая пласціна засаўкі


1. Маховик 2. Індыкатар 3. Вечка 4. Сальнік 5. Упакоўка 6. Вечка клапана

7- Шток клапана 8 - Гайка штока клапана 9, 12 - Ушчыльняльнае кольца 10 - Корпус клапана 11 - Засаўка 13 - Пракладка


Эластычная засаўка паказана на малюнку 3. Яна мае такія перавагі, як простая канструкцыя і надзейнае выкарыстанне, і можа выклікаць невялікую пругкую дэфармацыю, што павялічвае герметычнасць закрыцця.



Малюнак 3 Эластычная засаўка


1. Махоўнік 2- гайка штока клапана 3 - сальнік 4 - сальнік 5 - вечка клапана 6 - пракладка

7- Корпус клапана 8 Засаўная пласціна 9 - Ушчыльняльнае кольца 10 - Шток клапана 11 - Злучальны ніт


У засаўцы з падымаючыся стрыжнем разьба стрыжня клапана падыходзіць да накіднай гайкі, абсталяванай махавіком. Ніжні канец штока клапана мае квадратную галоўку, якая ўстаўлена ў пласціну засаўкі. Пры павароце махавіка шток клапана і засаўка рухаюцца ўверх і ўніз. Пры адкрыцці стрыжань клапана выходзіць з ручнога штурвала. Перавага заключаецца ў тым, што ступень адкрыцця клапана можна меркаваць па падоўжанай даўжыні штока клапана, і шток клапана не ўваходзіць у непасрэдны кантакт з транспартаванай асяроддзем. Недахопам з'яўляецца тое, што клапан мае вялікую вышыню адчынення, і ў месцы ўстаноўкі павінна быць дастаткова месца, каб шток клапана мог выступаць вонкі. Пры ўсталёўцы на месцы абавязкова звярніце ўвагу на гэты момант. Знешняя разьба штока клапана засаўкі са схаваным штокам супадае з унутранай разьбой, устаўленай у клапан. Такім чынам, калі махавік паварочваецца, шток клапана круціцца, у выніку чаго засаўка ўнутры клапана рухаецца ўверх і ўніз, але шток клапана не можа рухацца ўверх і ўніз. Засаўка са схаваным штокам займае менш месца пры ўсталёўцы. Транспартаванае асяроддзе ўступае ў непасрэдны кантакт са стрыжнем клапана, і па стрыжню клапана немагчыма ацаніць ступень адчынення клапана. Засаўка павінна быць усталявана гарызантальна, незалежна ад таго, ці з'яўляецца гэта засаўка з падымаючыся штокам або засаўка з непад'ёмным штокам. Шток клапана павінен быць вертыкальна ўверх, а не нахілены. Катэгарычна забараняецца ўсталёўваць шток клапана ўніз.



Звязаныя навіны
Пакіньце мне паведамленне
X
Мы выкарыстоўваем файлы cookie, каб прапанаваць вам лепшы вопыт прагляду, аналізаваць наведвальнасць сайта і персаналізаваць кантэнт. Выкарыстоўваючы гэты сайт, вы згаджаецеся на выкарыстанне намі файлаў cookie. Палітыка прыватнасці
Адхіліць Прыняць